アニメナウアンテナ
トップページ
カテゴリー
登録サイト
RSS
お問い合わせ
総合
2020年冬アニメ
虚構推理
2019年春アニメ
2019年秋アニメ
もっと見る
あにちる速報の一覧
2019/
12/
20
13:
03:
05
アニメ・漫画
その他
昔のネット民「芸能人がオタクに擦り寄るな」 今のネット民「この芸能人オタクやんけwwすこww」
あにちる速報
2019/
12/
20
12:
13:
29
海外 反応・話題
その他
中国企業Xiaomi、決算説明会で「恋愛サーキュレーション」を流してしまうwww
あにちる速報
2019/
12/
20
10:
33:
57
映画・劇場版
その他
映画館ってむしろ1回1000円にしてフード買わせる方向の方がええんちゃうの
あにちる速報
2019/
12/
20
00:
03:
01
ご注文はうさぎですか?
アニメ・漫画
2014年春アニメ
その他
ごちうさの新キャラが可愛すぎるwww
あにちる速報
2019/
12/
19
22:
23:
35
画像・動画
アニメ・漫画
その他
【画像】ヤンジャン、とんでもないラブコメを開始www
あにちる速報
2019/
12/
19
21:
03:
55
海外 反応・話題
アンケート・疑問
アニメ・漫画
その他
中国人「なんで日本のアニメは愛国テーマにしたものがないの?」
あにちる速報
2019/
12/
19
19:
03:
07
画像・動画
その他
【画像】「ゲーミングソックス」、ついに発売www
あにちる速報
2019/
12/
19
18:
03:
47
アンケート・疑問
カイジ・アカギ
コミック・雑誌・書籍
その他
伊藤カイジ(21)っていうほど人生つんでなくね?
あにちる速報
2019/
12/
19
17:
03:
50
ゲーム・ソシャゲ
ゲーム系
『もう一度Xboxにゲームを任せてみよう!』という風潮
あにちる速報
2019/
12/
19
16:
13:
48
アニメ・漫画
映画・劇場版
その他
日本映画界「助けて!!お客さんがアニメしか観に来てくれないの!!!!」
あにちる速報
2019/
12/
19
15:
03:
01
少年ジャンプ作品
アンケート・疑問
コミック・雑誌・書籍
その他
「幽遊白書超」でありがちなこと
あにちる速報
2019/
12/
19
12:
03:
42
ロボアニメ全般
アンケート・疑問
その他
「赤いザクは通常の3倍の速さ」←結局これなんでなん?
あにちる速報
2019/
12/
19
11:
03:
16
アニメ・漫画
その他
ニートが漫画など小説など書いてワンチャン狙うやつw
あにちる速報
2019/
12/
18
22:
13:
05
ゲーム・ソシャゲ
ゲーム系
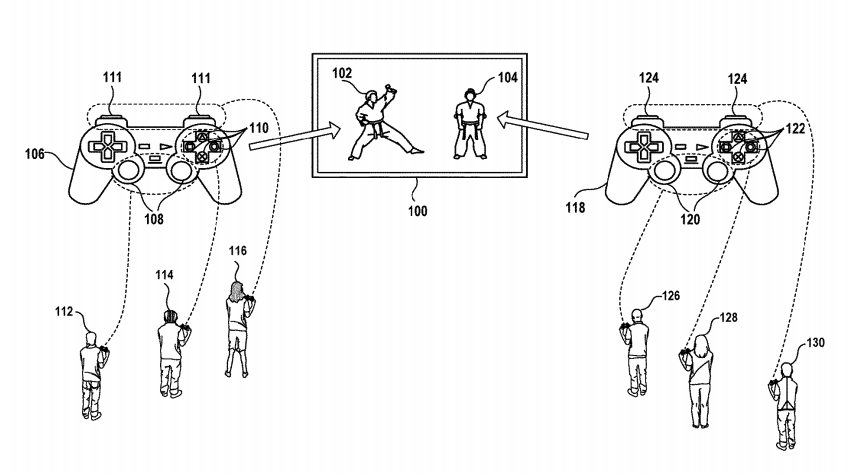
ソニー、あらゆるゲームをマルチプレイにする特許取得。
あにちる速報
2019/
12/
18
21:
43:
29
ゲーム・ソシャゲ
ゲーム系
海外プロゲーマー「日本は試合で負けると今後どうするか話すのではなくお互いに責め合っている」
あにちる速報
2019/
12/
18
20:
03:
43
Fate/stay night
アニメ・漫画
アダルトゲーム
ゲーム系
その他
【朗報】鬼滅作者が型月イベントでセイバーと凛のイラストを寄稿!
あにちる速報
2019/
12/
18
19:
13:
42
アニメ・漫画
その他
マクドナルドが10年ほど前まで「ドナルド」とかいう狂気のピエロを看板キャラクターにしていた現実
あにちる速報
2019/
12/
18
18:
13:
28
監督・制作会社
アニメ・漫画
その他
大物アニメ監督「GONZO関連の人たちは猛省してほしい、アニメ業界に悪影響を与えすぎた」
あにちる速報
2019/
12/
18
17:
03:
13
2017年冬アニメ
ゲーム・ソシャゲ
GRANBLUE FANTASY
ゲーム系
【悲報】グラブル2期、なぜか売上がめっちゃ減ってしまう…
あにちる速報
2019/
12/
18
11:
33:
52
アニメ・漫画
その他
暴力ヒロイン、ガチで不評すぎて絶滅寸前
あにちる速報
2019/
12/
18
09:
03:
14
監督・制作会社
画像・動画
アニメ・漫画
その他
【朗報】動画工房、ここ4年くらいずっと当たり作品ばっか作ってる
あにちる速報
2019/
12/
18
06:
03:
27
アニメ・漫画
その他
週刊漫画家「1週間で19P書いてぇ…ストーリーもキャラも考えてぇ…」
あにちる速報
2019/
12/
17
23:
33:
55
アンケート・疑問
アニメ・漫画
その他
「主人公より有名なキャラ」←誰が思い浮かんだ?
あにちる速報
2019/
12/
17
21:
03:
32
アニメ・漫画
その他
アニメは原作を知らないほうが素直に楽しめる説
あにちる速報
2019/
12/
17
19:
03:
20
アンケート・疑問
ゲーム・ソシャゲ
ゲーム系
その他
FF懐古おじさん達「FFは5が一番だよね」「いや4だろ」「は?6だから」
あにちる速報
2019/
12/
17
18:
03:
27
ポケモン
画像・動画
ゲーム系
その他
【動画】ポケモン剣盾、ついに壁抜けバグが発見されてしまう
あにちる速報
2019/
12/
17
16:
33:
30
画像・動画
初音ミク
ゲーム系
その他
【画像】初音ミクさん、ついに現実世界に飛び出してくる
あにちる速報
2019/
12/
17
15:
03:
26
画像・動画
その他
PSvita版ニコニコ動画、本日で終わり
あにちる速報
2019/
12/
17
14:
03:
34
特撮・仮面ライダー
アニメ・漫画
2013年冬アニメ
定番アニメ
その他
ラブライブ!
【悲報】特撮オタク「ラブライブのライブで仮面ライダーのベルト巻いたら叩かれたけど迷惑にならないよう配慮してるんだから否定しないで」
あにちる速報
2019/
12/
17
13:
03:
00
ゲーム・ソシャゲ
ゲーム系
【悲報】ディスガイアRPG、課金で開くゲートが無限に開けるバグが発見され阿鼻叫喚に
あにちる速報
« 前へ
1
136
137
138
139
140
316
次へ »
検索
新着記事
【悲報】ワンピースのルフィ「こんな部屋があるからいけねえんだ!!(ボゴォン!」 ワイ「やべろ゛~~!!」←これwww
【画像】発売から1ヶ月が経ったエロゲの中古価格がこちらwwwwwww
【悲報】「え?こいつメインヒロインじゃなかったの!?」ってガチでなったキャラwwww
【バンドリ!】ブシロード「Ave Mujica 若葉 睦 制服 ver.」「Ave Mujica 豊川 祥子 制服 ver.」プライズフィギュア【彩色原型公開】
【百合】清楚系で通ってる女の子の話 ほか
人気記事
まんがタイムきららMAX2021年2月号感想!(ご注文はうさぎですか?、きんいろモザイクBest wishes.)
【画像】お胸がゼットンに見えるプラモデル作ったwwwwwww
【画像】このシーンでシコりまくったんだがwwwww
【お得】4種類のお胸がつく、プラモデル発売や
【画像】このメスガキバイクのプラモさあ
【画像】積みプラ崩したいからこの中からどのプラモデル作るべきか決めてくれ!
【画像】カントクさん、下着丸見え口リを描くwwwwwww
【悲報】人気のエロ漫画家が急性心不全で死去 デスクで描いたまま絶命
汚いオホ声同人音声声優ランキングTOP3
【画像】バニーガーデン、ついにDLCで「逆バニー」を実装wwwwwww
カテゴリー一覧
2020年冬アニメ (12149)
2019年春アニメ (30504)
2019年夏アニメ (3746)
2019年秋アニメ (55622)
2018年夏アニメ (23925)
2018年冬アニメ (19758)
2018年秋アニメ (12027)
2017年秋アニメ (893)
2017年夏アニメ (2228)
2017年春アニメ (1578)
2018年春アニメ (22381)
2017年冬アニメ (5448)
2016年秋アニメ (1411)
2016年夏アニメ (6364)
2016年春アニメ (908)
2016年冬アニメ (6072)
2015年秋アニメ (319)
2015年夏アニメ (3776)
2015年冬アニメ (17023)
2014年秋アニメ (396)
2014年春アニメ (2445)
2014年冬アニメ (21)
2013年秋アニメ (1272)
2013年夏アニメ (529)
2013年春アニメ (803)
2013年冬アニメ (16365)
人気作品 (48935)
定番アニメ (131683)
コミック・雑誌・書籍 (159072)
その他 (819038)
ゲーム系 (198836)
設定なし (1219)
呪術廻戦 (5934)
鬼滅の刃